浮球閥減壓閥緩閉止回閥泄壓閥氣動球閥電動球閥不銹鋼球閥氣動蝶閥電動蝶閥法蘭蝶閥對夾式蝶閥襯氟蝶閥不銹鋼閘閥倒流防止器電動調節閥氣動調節閥自力式調節閥截止閥止回閥過濾器排氣閥排泥閥
J11W不銹鋼絲扣截止閥|絲扣截止閥|不銹鋼截止閥產品資料介紹 J11W不銹鋼絲扣截止閥|絲扣截止閥|不銹鋼截止閥型號規格
J11W不銹鋼絲扣截止閥|絲扣截止閥|不銹鋼截止閥
不銹鋼絲扣截止閥
不銹鋼絲扣截止閥
不銹鋼絲扣截止閥
不銹鋼絲扣截止閥
不銹鋼絲扣截止閥
不銹鋼絲扣截止閥

J11W不銹鋼絲扣截止閥

品牌廠家:COLAVAL/可拉伐
產品型號:J11W
連接方式:絲扣
公稱通徑:DN15-DN50
閥體材質:不銹鋼304、不銹鋼316、不銹鋼316L
壓力溫度:PN10-PN16 0~80℃
結構形式:截止式
應用領域:不銹鋼絲扣截止閥水用開關絲扣截止閥J11W切斷調節流量
在線詢價

服務熱線:021-8037092318701880159

產品優點
  • 性能穩定

    配件采用不銹鋼304材質不易生銹

  • 開關方便

    工作行程小,啟閉時間短

  • 維修方便

    結構簡單,制造和維修比較方便

  • 使用時間長

    密封性好,密封面間磨擦力小,使用較長。

  • 操作簡單

    體積小、輕便、性能可靠、配套簡單、流通能力大等優點。

  • 專業選型

    根據用戶提供的流量、壓力提供選型規格書及控制方案圖。

產品詳情
J11W不銹鋼絲扣截止閥原理作用:

    J11W不銹鋼絲扣截止閥的啟閉件是塞形的閥瓣,密封上面呈平面或錐面,閥瓣沿閥座的中心線作直線運動;J11W不銹鋼絲扣截止閥閥桿開啟或關閉行程相對較短,并具有非常可靠的切斷動作,使得它適合作為介質的切斷或調節及節流使用。
    J11W不銹鋼絲扣截止閥屬于強制密封式閥門,所以在閥門關閉時,必須向閥瓣施加壓力,以強制密封面不泄漏。從自密封的閥門出現后,截止閥的介質流向就改由閥瓣上方進入閥腔,這時在介質壓力作用下,關閥門的力小,而開閥門的力大,閥桿的直徑可以相應地減少;同時,在介質作用下,這種形式的閥門也較嚴密。 

J11W不銹鋼絲扣截止閥性能特點:

    ①結構簡單,制造和維修比較方便;
    ②工作行程小,啟閉時間短;
    ③密封性好,密封面間磨擦力小,壽命較長。

J11W不銹鋼絲扣截止閥技術參數:
公稱通徑DN15-DN50適用溫度-46℃-180℃
公稱壓力1.0Mpa-2.5Mpa適用介質水、氣、油品
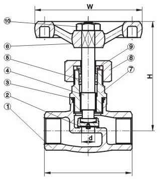
J11W不銹鋼絲扣截止閥部件材質:
零件名稱材質屬性零件名稱材質屬性
閥體不銹鋼閘板不銹鋼
閥桿不銹鋼手輪鋁(壓鑄)
J11W不銹鋼絲扣截止閥外形尺寸:

 J11W不銹鋼絲扣截止閥尺寸圖

DN152025324050
L678087102118136
H8598102120130141
E66707897105127


021-80370923
18701880159
在線客服
加微信聊
返回頂部

添加微信,享下單優惠!

18701880159 18701880159

(長按復制微信號,添加好友)

電話咨詢 微信咨詢